В случае если внезапно переключатель для смесителя начал
Сантехническое оборудование для приема водных процедур в большинстве случаев подразделяется на два типа. В первом случае наполняется особая емкость для купания, а во втором – процесс мытья осуществляется методом действия небольших струй воды конкретно на тело. В случае если употребляется как раз второй вариант, то непременно нужно будет производить ремонт переключателя душа в смесителе, поскольку он довольно часто выходит из строя.

Процесс разборки
Определение обстоятельства неисправности производится лишь по окончании предварительного осмотра компонентов изделия. С этого этапа начинается прилагаемая к изделию инструкция, предусматривающая процесс снятия основного механизма.
При проведении работ операции должны производиться в определенном порядке:
- С рукоятки в первую очередь снимается особая заглушка, делающая чисто декоративные функции. Под ней находится крепежный винт, который выкручивается при помощи отвертки.
- Ручка бережно демонтируется. Перед глазами должен появиться буксовый или каждый механизм. В возможно установлен эксцентрик либо особенный картридж.
- Устройство вынимается из отверстия. В случае если стоит буксовая гильза либо отдельный контейнер, то механизм легко извлекается всецело. Для удаления эксцентрика потребуется выполнить дополнительные операции, приведенные потом.
- В случае если переключатель душа для смесителя не удалось вынуть всецело, то направляться открутить гайку излива для снятия. Съемный фрагмент корпуса бережно отворачивается.

Примечание! В случае если предстоит замена переключателя душа в смесителе, дабы не совершить ошибку при выборе элемента, рекомендуется взять с собой в магазин снятый механизм.
Основные неисправности
Стоит подробнее остановиться на перечне вероятных неприятностей, появляющихся в ходе эксплуатации данных устройств. Все их в полной мере реально устранить своими руками, не завлекая экспертов. Цена основных компонентов низка, поэтом ремонтные работы обойдутся не так дорого, как может показаться изначально.
Происхождение подтеков
В некоторых случаях течет переключатель душа на смесителе, что в итоге ведет к появлению следов ржавчины на сантехнических устройствах. В большинстве случаев обстоятельством неисправности есть сальник, который со временем возможно поврежден. Неприятность решается методом его замены.

Ниже рассматривается ремонт кнопочного переключателя душа в смесителе:
- Работы начинаются с перекрытия вентилей и отсоединения излива и гибкого шланга.
- Со штока удаляется кнопка, наряду с этим нельзя допускать повреждения покрытия.
- Переходник снимается с применением стального стержня.
- Клапан со штоком вытаскивается, по окончании чего поврежденный сальник изменяется.
- На финальном этапе осуществляется сборка.
Неуправляемое поступление воды
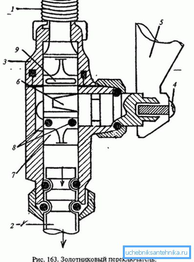
Время от времени происходит одновременное поступление жидкости конкретно в излив крана и лейку душа. Такое явление характерно для золотниковых механизмов, в то время, когда изнашивается прокладка. Замена уплотнительного элемента предоставляет возможность всецело устранить неисправность подобного рода.

В случае если испортилась верхняя прокладка, то ремонт переключателя-смесителя + душ-излив не требует полной разборки. Достаточно вынуть резиновую прослойку при помощи узкого ключа. Раздельно подобные уплотнители не продаются, но в наборе в большинстве случаев поставляются запасные кольца.
Замена прокладки при наличии кнопочного механизма будет пара различаться. При проведении работ перекрывается подача воды и снимается излив.
Конкретно в отверстие переходника вставляется шестигранник, который разрешает открутить удерживающий болт. Снимается кнопка, выкручивается винт, по окончании чего пластиковый клапан выталкивается наружу.

Серьёзные моменты
Получаемая продукция для того чтобы типа будет помогать долго лишь при наличии сертификатов качества. При выборе не нужно очень сильно экономить, поскольку в будущем возможно израсходовать еще больше, осуществляя нередкий ремонт. Сохранить денежные ресурсы разрешает бережная эксплуатация изделия.
При обнаружении неисправности, связанной с износом либо повреждением уплотнительного кольца, вовсе не обязательно идти в магазин за приобретением. Подобные элементы возможно изготовить самостоятельно, применяя трубку из резины.
Осуществлять разборочные работы придется в любом случае, независимо от обстоятельства поломки, исходя из этого оптимальнее поискать инструкцию, которая в большинстве случаев поставляется с получаемой моделью смесителя.
Основные виды механизмов
В зависимости от принципа работы, данные устройства смогут быть поделены на пара типов. Метод проведения ремонтных работ будет во многом зависеть о того, какой элемент установлен в смесителе.
Ниже приводятся основные варианты механизмов для переключения режимов.

- Золотниковый механизм отличается простотой. Он значительно чаще видится в продукции вентильного типа. Между двумя кран-буксами в большинстве случаев находится особая ручка, изготовленная из металла либо пластика. Дабы обеспечить герметичность подобные устройства оснащаются резиновыми прокладками определенной формы.
- Пробковый переключатель в настоящее время фактически не употребляется. Его возможно отличить по долгой рукоятке, которая находится в центре прибора. В качестве основного компонента выступает пробка с вырезом. В то время, когда осуществляется вращение, происходит совмещение полости с входными и выходными отверстиями.
- Кнопочное устройство может находиться как в вертикальном, так и в горизонтальном положении. Это классический вариант для смесителей с одним рычагом. Дабы осуществить переход, достаточно потянуть рукоятку вверх. Под воздействие напора воды происходит автоматическая фиксация потока.
- Картриджный аналог отличается надежностью и долговечностью. При проведении ремонта изменяется контейнер всецело, поскольку отыскать подходящие детали достаточно проблематично.

Внимание! Особенной популярностью пользуется смеситель с керамическим переключателем режимов. Особые пластины отличаются высоким качеством, благодаря чему приспособление функционирует в течении долгого времени.
Последняя часть
Текстовая и графическая информация, представленная выше, позволяет осознать, что делать, в случае если сломался переключатель душа на смесителе в ванной комнате. Но перед тем как приступить к работам рекомендуется кроме этого пристально изучить другой источник информационный источник – видео в данной статье.
Тогда осуществить ремонтные мероприятия будет легче в значительной мере.